Как да направите тухлена и метална печка за баня
Печката е централният елемент на банята - мнозина се опитват да я направят сами. Това решение е напълно оправдано: не е лесно да изберете фабрична версия за индивидуалните характеристики на обекта. Помислете за критериите, на които трябва да отговаря печката за баня, както и как да я направите сами с тухли и валцована стомана.
съдържание
Дизайнерски характеристики на пещта за банята
На пръв поглед печка за баня се различава от печка за отопление само по наличието на запълване на камъни - нагревател и задължителното наличие на резервоар за гореща вода. Но има неочевидни разлики.
За да се насочи максималното производство на топлина към инфрачервено излъчване, е необходим материал с висока топлинна мощност, но ниска топлопроводимост. Каменният пълнеж също притежава такива свойства.
Пещта за сауна има по-високи изисквания за стегнатостта на тялото. Факт е, че в нагрятия въздух се усилва вредния ефект на въглеродния оксид, така че е много важно напълно да се елиминира навлизането му в парната стая.
Ако искате да можете да отоплявате пещта по време на приемането на процедурите за баня, зареждащата врата на пещта заедно с вентилатора трябва да бъде пренесена в съседното помещение. Ако това не бъде направено, тогава по време на камината в парната стая концентрацията на кислород ще спадне и хората ще започнат да страдат от задушаване.
Сортове и препоръки за подбор
Материалът на пещта зависи преди всичко от обема на банята. Помислете за няколко варианта:
- Просторна сграда с няколко стаи изисква тухлена фурна, която е в състояние да отделя топлина за дълго време.
- Парната е с скромни размери с обем от 30 до 35 m3 Можете да инсталирате чугунена печка.
- За баня с най-компактни размери е подходяща и стоманена фурна.
Не по-малко значение има материалът, от който са направени стените на банята. Изсичането от бреза или липа се нарича леко, от дъб - тежко. Тези термини не трябва да се приемат буквално: думата "тежък" в този случай не означава тегло, а наличието на танини в дървесината. Хората с лошо здраве, както и жени и деца, не се препоръчва да се къпят в такива сауни.
Таблица: мощност и тегло на камъни за бани с липа, бреза и дъб
| Тип баня (височина на тавана от 2,2 до 2,4 м) | Мощност (kW / m3) | Тегло на камъните (kg / m3) |
| Липово дърво | 0,5 | 2,7 |
| бреза | 0,7 | от 3,6 до 4 |
| дъб | 1,2 | 6 |
Според метода на нагряване на камък за пълнене, печките за баня се разделят на две разновидности.
Течащи печки
В такива пещи нагревателят не се отделя от пещта с непроницаема преграда, така че димните газове проникват през нея, преди да влязат в комина.
Благодарение на това решение камъните се загряват изключително бързо, но трябва да се примирите с някои недостатъци:
- Сложен дизайн на пещта.
- С известна периодичност камъните трябва да се почистват от сажди.
- Пресоването (изливането на вода или квас върху камъните) е възможно само след като горивото напълно изгори.
- Можете да използвате само гориво, което произвежда малко количество въглеродни отлагания (пелети, аспен и др.).
С глух нагревател
В това изпълнение камъните са оградени от пещта и газопровода с печка. По отношение на предимствата и недостатъците ситуацията е обратна: нагревателят се загрява дълго време, но не е необходимо да се почиства и може да се използва за производство на пара по всяко време.
За да могат камъните в мъртвата печка да се нагреят достатъчно, трябва да бъдат изпълнени две условия:
- пещта трябва да бъде метална (топлопроводимостта на тухлената преграда няма да е достатъчна);
- имат капацитет не повече от 25 kW (банята трябва да се състои от една стая с обем до 45 кубически метра).
С увеличаване на мощността на пещта размерът й нараства, а контактната площ на нагревателя с преградата, в съответствие със закона на квадратния куб, не "върви в крак" с обема си.
Трябва да се има предвид, че височината на тавана в парна стая със сляп нагревател не трябва да надвишава 2,2 м, в противен случай вместо лека пара може да се окаже тежка.
От всички тези опции е достъпна само стоманена пещ за независимо производство на любителско ниво. Тухла може да се изгради и у дома, но с оглед на трудните условия на работа, само опитен производител на печки може да направи това. Печките за чугунени вани се правят само във фабриката.
Метална пещ
В ежедневието предлаганата тук версия на нагревателя за сауна се нарича "бърза фурна". Това име е заслужено: ще може да се използва парната стая в рамките на 1,5-2 часа след началото на разпалването. Това предимство се дължи на използването на проточен нагревател.
Пещта е предназначена за баня с парна стая до 25 куб.м. m - опция за периодична употреба от семейство от 3-4 души. За експлоатация в по-голяма сграда е необходима облицовка с огнеупорни тухли.
Необходими материали и инструменти
Ще отнеме стомана. Ще използваме най-достъпната стомана - структурна (тя също се нарича „черна“ в ежедневието), с ниско съдържание на въглерод (всяка степен до стомана 20 ще бъде). Високовъглеродните марки като стомана 35 или стомана 45 се втвърдяват и обгръщат от излагане на висока температура.
Ето какъв вид наем трябва да се получи:
- Секция от тръба с диаметър 520–700 мм и дължина 1600 мм. Разбира се, тялото на пещта може да бъде направено заварено, но ако бъде направено от едно цяло парче тръба, то ще бъде по-трайно и издръжливо. Дебелината на стената на детайла трябва да бъде 7-10 mm.
- Тръба с дебелина на стената 5 mm и диаметър 100–120 mm е детайл за комина.
- Разрез на лист с формат 2,2х1 м с дебелина от 10 мм.
- Прът с диаметър около 10 мм.
Ще ви трябват и редица продукти:
- Фабрично изработена решетка. Най-трайните са продуктите, изработени от чугун чрез леене. Но поради липса на закупена опция, можете да заварявате такава решетка от стоманена пръчка.
- Панти за врати - само 8 бр.
- По дяволите за врати - само 3 бр.
- Клапан или сферичен клапан.
Инструменти, използвани в работата:
- шлайф с режещи и почистващи кръгове;
- апарати за електрическо заваряване;
- ножица за метал.
Стъпка по стъпка инструкции за производство
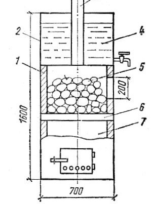
- Заготовката за тялото (дължина на тръбата 1600 мм) трябва да бъде разрязана на две части - с дължина 900 и 700 мм.
- В долната част на детайла с дължина 900 мм е необходимо внимателно да изрежете правоъгълен отвор с размери 200х50 мм, който ще служи като мазе. Тя трябва да бъде разположена на 70-100 мм от края. Важно е да не повредите изрязаната част на стената - впоследствие от нея ще бъде направена врата.
- Малко по-високо, по същия начин, трябва да направите отвор за зареждане на гориво.
- Изрежете правоъгълни фрагменти на врати. За да направите това, достатъчно е да заварите към тях хекът и половинките на бримките.
- Заварявайки свързващите части на пантите и куките, за да фиксирате ключалките към тялото, можете да инсталирате вратите на място.
- Сега трябва да направите плосък пръстен, върху който ще бъде положена решетката. Тя трябва да бъде изрязана от стоманен лист с дебелина 10 мм. Ширината на пръстена се избира, като се вземат предвид размерите на скарата, а диаметърът й трябва да е равен на вътрешния диаметър на корпуса.
Бакшиш. Изрязването на заготовки, особено тези със заоблени контури, е най-добре да се поръча в специализирана работилница или в металното депо, където е закупен наемът. Ако се заемете сами с този бизнес, няма да можете да спестите много, тъй като ще трябва да купите няколко кръга за мелницата. Ще отнеме много време, за да „припомните“ заоблените ръбове, защото след рязане с шлайф те винаги се оказват ъглови.
След това от пръта трябва да бъде заварена решетка, върху която ще бъдат положени камъните. Стъпката между прътите е избрана в съответствие с размера на камъните - те не трябва да се провалят. Заварили решетката на нейно място, върху нея се полагат камъни.
От листа е необходимо да изрежете кръгъл капак за пещта, към който е заварен комин с определено отместване от центъра. В капака, разбира се, първо трябва да изрежете дупка, за да премахнете дима. Капакът е заварен отгоре на печката, така че коминът да е по-близо до гърба на печката.
Друг кръг със същия диаметър трябва да бъде заварен отдолу като дъно.
Забележка. Можете да оставите пещта без дъно и в процеса на поставяне на широк и плитък контейнер под нея, ще бъде по-лесно да премахнете пепелта.
Заваряваме резервоар за вода върху пещта, ролята на която ще играе останалият тръбен сегмент с дължина 700 мм. Коминът вътре в него ще действа като нагревател.
В долната част на стената на резервоара трябва да бъде заварен фитинг с резба, върху който впоследствие да се завие кран или клапан.
Последният етап е производството и монтажа на капака за резервоара за вода. Извършва се на няколко етапа:
- от листа трябва да се изреже кръг с диаметър, съответстващ на диаметъра на тялото на пещта;
- кръгът трябва да бъде нарязан по хордата на две части, по-малката от които ще играе ролята на шарнирен люк;
- в голям детайл се изрязва дупка за комина, след което се заварява към горната част на резервоара за вода;
- малък детайл, тоест люк, е фиксиран към капака на резервоара с панти.
При това производството на стоманена пещ за баня може да се счита за завършено. Имайте предвид, че предлаганото тук строителство далеч не е единственият възможен вариант. Фигурата показва още няколко пещи, изработени от валцувана стомана.
Тухла опция
Сега помислете за технологията на създаване на тухлена печка за сауна.
За бързото загряване ще има и течащ нагревател.
Още веднъж обръщаме вниманието на читателя върху факта, че е по-добре да се повери строителството на тази сграда на капитан с достатъчен опит в пещния бизнес - това се дължи на особено трудни експлоатационни условия и повишени изисквания за безопасност.
материали
Значителните топлинни натоварвания и необходимостта да се направят стените на пещта абсолютно херметични, определят най-високите изисквания за качество на материалите.
Вътрешните стени на конструкцията, които ще трябва да влязат в контакт с пожар и нажежаеми продукти, трябва да бъдат положени от тухли. В ред, той ще бъде обозначен с жълто. Не можете да разбивате тухли на парчета или да ги смилате с шлайф - всички блокове в ½ или ¾ от тухлата трябва да бъдат закупени готови (те трябва да имат само гладки ръбове).
Използваният разтвор на глина и пясък трябва да е със средно съдържание на мазнини. Глината и пясъкът обикновено се смесват в съотношение 1: 1. Пясъкът трябва да се използва без органични примеси - планински или дере. Може да се разпознае по сребърния цвят и ъгъла на гранулите. Микропукнатините бързо ще се появят в разтвора, смесен върху речен пясък със заоблени гранули, в резултат на което отровният въглероден окис ще започне да постъпва в парната. Пясъкът трябва да се пресява през сито с размер на окото 0,15-0,25 mm, измива се и се калцинира.
Бакшиш. Ако наличната глина се оказа твърде мазна, разредете я със смляна глинена тухла.
За облицовка трябва да използвате предната тухла с гладки ръбове и заоблени ръбове.
зидария
Работата по изграждането на пещта се извършва последователно.
Основателно устройство
В почвата върху пясъчна постеля е необходимо да се запълни стоманобетонна основа, чиито краища трябва да изпъкват очертания на пещта с най-малко 50 мм от всяка страна. Пълнежът с пясък е необходим - без него пещта ще бъде нестабилна. Дълбочината на подметката на фундамента зависи от наличието на отопление в помещението: ако е (или банята се загрява всеки ден), достатъчно е да отидете дълбоко с 400-600 мм; при липса на отопление в комбинация с рядката употреба на банята е необходимо основата да се потопи до дълбочината на замръзване на почвата.
В горната част на основата можете да оставите кухина - това е казанче, в което обикновено се съхранява инвентар. Припокриването за него може да бъде стоманобетонни греди, стоманен лист или тухлена арка, положена отгоре на дървени греди или валцувана стомана.
Междинен ред
Хидроизолационното покритие, състоящо се от два слоя покривен материал, се полага върху стоманобетонната основа.Вместо това можете да поставите стоманен лист, а отгоре - базалтов картон с дебелина 4-6 мм.
След това изложи на междинно тухла ред. С негова помощ се компенсира неравностите на основата, така че в крайна сметка повърхността на реда става идеално равна и строго хоризонтална. В допълнение, в план тази част на пещта трябва да бъде перфектен правоъгълник. Това се проверява чрез измерване на дължината на диагоналите - те трябва да са равни. Разтворът при полагане на първия ред не се използва.
Върху тухлите се полага още един слой покривен материал.
Пожарна защита
За да се изключи запалването на дървената стена на банята, между нея и печката е издигната тухлена стена с височина 5 реда. Използвана тухла със средно качество и обичайната строителна цименто-пясъчна замазка.
Тяло на пещ
Впоследствие тухлите се полагат ред по ред според реда.
Дебелината на фугите в шамотната зидария трябва да бъде 3 мм, между облицовъчните и шамотните тухли - от 6 до 10 мм. Между тухлите (всякакви) и металните изделия трябва да се оставят същите широки шевове. Доста е трудно да нанесете разтвора с тънък слой с помощта на мистрия, така че това обикновено се прави с ръце. Тухлите трябва да се поставят точно - точно на тяхно място. Невъзможно е да коригирате или докоснете блока - ако той е крив, трябва да го преместите с нов, като отново приложите разтвора.
Опитни препоръки за печка
Вратите са най-удобно фиксирани с помощта на поцинкована тел с диаметър 2 или 3 мм. Когато инсталирате дупката на вратата (на 1-ви ред), телта трябва да бъде сгъната наполовина преди усукване. За вратата на пещта е необходима по-мощна сбруя - тук се използват три парчета тел, сгънати наполовина (тънката бързо ще изгори).
Бакшиш. За да улесните огъването на дебела жица, тя трябва да бъде леко изгорена.
Обратите на тел трябва да бъдат положени в жлебове, специално нарязани на тухли.
Рамката на всяка врата трябва да бъде обвита с азбестов шнур на два слоя. Той играе ролята на уплътнител и в същото време температурен шев - позволява на чугуна свободно да увеличава обема си при нагряване.
По височина вратата обикновено не се побира между тухлените редове, така че тухлите, които се припокриват, трябва да бъдат нарязани. Важно е да не забравяте: трябва да се вземе предвид дебелината на азбестовия шнур, с който рамката на вратата ще бъде обвита.
Забележка. Тъй като духащата врата, която позволява достъп до камерата за пепел, не се нагрява прекалено много, е позволено да я поставите върху разтвора.
Размерът на скарата трябва да бъде по-малък от вътрешните размери на пещта с поне 10 мм - тогава между нея и тухлата ще остане празнина от 5 мм. Ако това правило не се спазва, решетката деформира зидарията при нагряване.
Забележка. Понякога поради отклонения в размера на тухлите, рафтът, върху който трябва да лежи решетката, не може да бъде направен строго хоризонтално - лицето на тухла е под равнината на целия ред. Най-често това се случва с тухли, монтирани върху лъжици. Разликата във височината трябва да се компенсира с плочи, изрязани от тухла.
В 5-ти и 7-ми ред, отново поради отклонения в размера на тухлите, между двата от тях, разположени в задната стена, може да се образува твърде широк шев. Това не може да се допусне, защото тогава глинесто-пясъчният разтвор бързо ще се разруши. В този случай и двете тухли трябва да бъдат преместени встрани от вентилатора с 3 см, като същевременно намалите шева между тях до минимален размер и вместо 3-та тухла, поставете две пръти. Ширината им е избрана така, че шевът между тях почти да липсва. Лявата лента се движи на 1,5 см към предната стена.
Резервоарът за вода на кръстовището с тухлите трябва да бъде два пъти обвит с азбестов шнур. От една страна, това ще елиминира изгарянето на стените му в случай на разпалване на пещ без вода, от друга страна, ще намали скоростта на нагряване на водата, без която би кипела дори преди парната стая да е напълно загрята.
Плочата е монтирана отгоре на деветия ред, така че да лежи върху тухлите с пролука 2–2,5 cm.
Нагревателната решетка може да бъде заварена от стоманени канали. Идеалният вариант са релси, които вече са били използвани по предназначение (повърхността им се втвърдява благодарение на втвърдяването).
Камъните трябва да се полагат след изсушаване на фурната и загрята от ускоряваща се камина.
Сушенето на фурната продължава най-малко 2 седмици. Оптималната температура е 20-30 градуса, така че е по-добре да се изгради пещ през лятото. Когато изсъхне, е необходимо да се произведе 5-кратна ускоряваща камина с прекъсвания от 12 часа. Горивото, което се използва за това, трябва да бъде висококачествено - дърветата от пепел или пелети са най-подходящи. Започнете с малка порция - до 5 кг. С всяко следващо „ускорение“ горивната маса постепенно се увеличава, довеждайки до последната камина до максимум.
комин
В комина на сауна печка се разграничават две секции. Първият раздел е онази част от тръбата, която се свързва директно с пещта и се намира вътре в парното помещение. Следните характеристики са характерни за този елемент:
- Той не е оборудван с нагревател, тъй като е необходимо инфрачервено и конвекционно извличане на топлина в парната стая.
- Необходимо е да се предвиди възможност за бърза и лесна подмяна, тъй като този участък изгаря сравнително бързо поради голямото топлинно натоварване.
Вторият участък, започващ от тавана и гледащ към улицата, трае много по-дълго, така че може да бъде фиксиран по-задълбочено. Тя трябва да бъде снабдена с топлоизолационна обвивка. Инсталира се по няколко причини:
- дървените елементи на тавана и покрива, в контакт с комина, трябва да бъдат защитени от прегряване (може да причинят пожар);
- предотвратявайки охлаждането на димните газове, осигуряваме добро сцепление;
- по същата причина количеството на образувания кондензат става минимално или дори нулево.
Между двете части е инсталиран адаптер. Във фабрично изработените фабрики за комини за сандвич тази част се нарича „начален сандвич“. Ако не е монтиран, изолацията от втората част на комина постепенно ще се разлее.
Като нагревател е позволено да се използват само негорими материали, които са устойчиви на високи температури. Полифони не принадлежат към тези.
Най-добре е да използвате базалтова вълна под формата на мека рогозка с плътност 30-50 кг / м3, Този топлоизолатор губи работните си качества, когато навлиза влага и във вана къща, характеризираща се с висока влажност, този недостатък трябва да се вземе предвид. Памучната вата е обвита в защитен корпус, изработен от поцинкована стомана. Корпусът е фиксиран със скоби от стоманена лента, а краищата му, събрани заедно, са закрепени с самонарезни винтове.
На местата за преминаване през припокриването и покрива се подрежда пожарорезба: между комина и дървените елементи се полага допълнителен топлоизолационен слой.
Работа на тухлена печка за сауна
Температурата в парната ще достигне желаната стойност за около 3-4 часа след началото на разпалването. Ако пещта успее да се охлади силно между процедурите за баня (престоят е повече от 3 дни), нейният старт трябва да започне с ускоряващо загряване (горивото се полага при 1/3 от максималния товар), което ще изсуши и затопли зидарията. Ако това не бъде направено, в стените на конструкцията могат да се появят микропукнатини, които са особено опасни в банята - както беше казано, в условия на топлина и висока влажност, отрицателният ефект на въглеродния окис е много по-изразен.
Ако той работи на празен ход повече от месец, ускоряващата пещ трябва да се повтори три пъти, като постепенно се увеличава обемът на порциите гориво от ¼ до максимума.
Такава печка може да се работи както в руска баня, така и в сауна. В случай на сауна, интензитетът на пещта леко се увеличава и нагревателят не се полива.
Какво да се удави
Печката за сауна може да гори само на дърва. Именно дървесината ви позволява да затоплите парната по правилния начин, тоест първо стените, а след това въздуха. Въглищата изгарят по малко по-различен начин: първо, леките фракции, включени в състава му, бързо изгарят, а след това фазата на продължително изгаряне на въглерод с намален топлопренос. Този начин на изгаряне е идеален за отоплителна пещ, но в парна стая ще предизвика образуването на тежка пара.
Камъни за нагреватели
Както бе споменато по-горе, камъните с голям топлоемкост и в същото време ниска топлопроводимост са подходящи за нагревателя.
Използването на скали от метаморфен тип - шисти, мрамор, доломит или варовик - е противопоказано: те се характеризират не само с неправилното съотношение на топлинния капацитет към топлопроводимостта, но и от наличието на органични примеси, които при нагряване се отделят под формата на вредни газове. Скалите от вулканичен произход с висока плътност са най-подходящи за нагреватели: талхохлорит, габро, диабаз и, разбира се, базалт. Следните симптоми са характерни за тях:
- голямо тегло;
- тъмен цвят;
- фрактурата е гладка или финозърнеста.
Важно е да изберете правилната форма на камъни. За да се намали делът на конвекционното отопление до 1/3, тяхната повърхност на единица обем трябва да бъде минимална. Това изискване е изпълнено от формата на топката с възможно най-гладка повърхност. Съответно камъните трябва да се търсят възможно най-кръгли. Най-големите могат да имат диаметър от 100 до 150 мм (приблизително с юмрук или малко по-голям), най-малките - от 20 мм.
Начинът на полагане на камъните зависи от вида нагревател. Ако тече, както в описаните по-горе пещи, тогава размерът на фракцията в слоевете трябва да намалее в посока отдолу нагоре, тоест най-големите камъни отдолу, най-малките отгоре. При полагане на глух нагревател се прилага обратният принцип: важно е да се осигури възможно най-бързото прехвърляне на топлина от отопляемата печка към камъните, така че най-малките от тях (те лежат в по-плътен слой).
Видео: правилно поставяне на камъни в печка за сауна
Печката за сауна значително се различава от конвенционалното отопление и готвене. И въпреки че се използва по-рядко, към строителния процес трябва да се подхожда с много по-голямо внимание.




























